Shweeb
Shweeb is a proposed personal rapid transit network based on human-powered monorail cars. The project prototype was originally designed and implemented in Rotorua, New Zealand as a leisure attraction. In September, 2010, a proposal for development of an expanded network was chosen to receive funding from Google as part of project 10100.[1]

As of August 2017, there are no active proposals to utilise the system for public transportation although a "sport resort" in the United States is considering it. In January 2021 a proposal was made for a Shweeb track be built as an attraction in a planned stadium in Christchurch, New Zealand. The monorail would be suspended out from main frame of the stadium.[2]
The original track in New Zealand is open to the public.
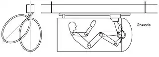
The proposed Shweeb transit network relies on recumbent bicycle technology to power pods suspended from monorails. According to Shweeb Monorail Technology, the intent of their proposal is to "create a solution which provided the user with the same flexibility and comfort offered by the car but without the consequential costs - both direct financial and indirect health and environmental costs."[3] The proposal envisions networks of monorail track providing point to point and commuter transit for urban areas.
Technical
Track
The track is built in folded galvanised steel. Its external height and width is 220 by 200 millimetres (8.7 in × 7.9 in). Support piles are also in galvanised steel.
Pods
Pods are covered with transparent plastic sheets, with ventilation holes. Front and rear long dampers are provided to limit the impact acceleration in case of pods collision and to ease the association of pods to build 'pod trains' which could significantly improve overall aerodynamic efficiency.
External power boost
To help climb ramps, an electrically powered chain installed on a track section could push the pods for a limited distance, in a way similar to the Trampe bicycle lift. This could also help entering stations built at a higher elevation than the track. The purpose of this elevation is to help a pod gaining momentum while descending from station track to the main line track.
See also
- Hotchkiss Bicycle Railroad
- WireRoad/tarbato, a pedal powered suspended monorail developed in Nepal in 2004
- Velomobile
- Schwebebahn
- Suspended monorail
References
- "Project 10 to the 100 - Idea: Drive innovation in public transport". Google. October 2011. Retrieved July 16, 2012.
- "Businessman wants 'Superman' monorail ride to go with Christchurch's new stadium". 26 February 2021. Retrieved 25 June 2021.
- Jack Martin (July 23, 2008). "The Shweeb Human-powered monorail". GizMag. Retrieved July 16, 2012.
External links
- "Official Shweeb Internet site". Archived from the original on 2016-03-10. Retrieved 2022-02-17. Including pictures and videos of the Shweeb attraction device
- "Shweeb-Can Corporation". Archived from the original on 2013-11-03. Retrieved 2022-02-17.
{{cite web}}: CS1 maint: unfit URL (link) North American website, includes CG images of Shweeb PRT network - "Shweeb Racer". Retrieved 2022-02-17. Rotorua system's website
- Film of Rotorua system
- Agroventures - Rotorua Adrenaline Attractions, Rotorua shweeb
- Skyride A similar system, used for leisure rides